Лебедки серии ЛРо-3

Цена: Цена по запросу

Описание / Информация:

Лебедка ручная ЛРо предназначена для подъема и опускания грузов при проведении монтажно-демонтажных и ремонтных работ в промышленности, в строительстве, на транспорте, в быту.

Характеристики:

Лебедка климатического исполнения У, категории размещения 1 по ГОСТ 15150-69. Температура окружающей среды от -20°С до +40°С.

Лебедка не предназначена для подъема и перемещения людей и работ во взрыво- и пожароопасных средах.

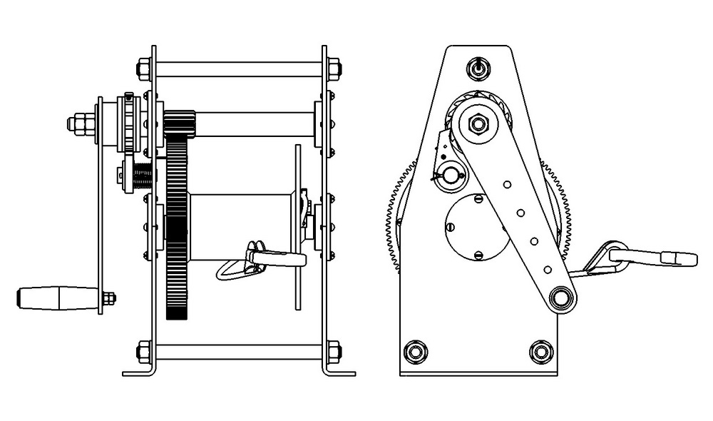
Конструкция

Лебедка ручная ЛРо состоит из корпуса, который представляет из себя две щеки, соединенных между собой шпильками. В корпусе установлены вал-шестерня и барабан , на котором крепится зубчатое колесо. На конце вала- шестерни смонтирован грузоупорный тормоз, состоящий из храповика, собачки и фрикционных дисков, которые препятствуют самопроизвольному опусканию груза.

Вращением рукоятки, через вал-шестерню и зубчатое колесо, приводится во вращение грузовой барабан и производится подъем груза. Во время подъема храповик зажат между фрикционными дисками и собачка прощелкивает по нему , не препятствуя вращению. После прекращения вращения рукоятки, собачка упирается о зуб храповика, и груз фиксируется на месте.

Для опускания груза рукоятка вращается в обратную сторону, фрикционные диски размыкаются, что позволяет вращать вал-шестерню на опускание. Если скорость опускания груза превышает скорость вращения рукоятки, фрикционные диски смыкаются и происходит торможение.

Обозначение г/п, т Ø каната, мм Длина каната, м Вес, кг
ЛРо-0,25 0,25 5,5-6,0 25 11,0
ЛРо-1,0 1,0 6,0-7,0 40, 60 34,2
ЛРо-1,5 1,5 7,0-8,0 40, 60 35,4

 

Уточнить техническую информацию

По вопросам наличия, технических характеристик и стоимости обращайтесь:

Похожие товары из данной категории