Захват для бочек ЗВБ
Цена:
Цена по запросу
Описание / Информация:
Захват предназначен для подъема и перемещения бочек в вертикальном положении. В современном производстве довольно часто используют бочки в качестве тары для разного рода материалов. Зачастую нет возможности использовать для перемещения или подъема бочек массивную грузоподъемную технику, или же сложная, округлая форма объекта не дает надежно его закрепить.
Характеристики:
Захват для бочек имеет простую и надежную конструкцию типа "клюв попугая", имеет небольшой вес и удобен в работе. Отличительной особенностью захвата является его бережное отношение к элементам конструкции бочки. Грузоподъемность одного захвата составляет 0,2т или 0,6т.
Для подъема и перемешения бочек захват крепится непосредственно к рабочему органу грузоподъемного механизма, либо с помощью строп. Для перемещения группы бочек возможно изготовление траверсы с захватами данного типа.
Уточнить техническую информацию
По вопросам наличия, технических характеристик и стоимости обращайтесь:
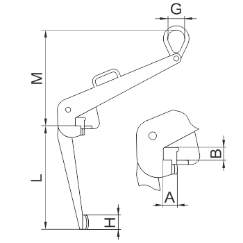
Подробная таблица:
| Код товара | Обозначение | Г/п, т | A | B | H | L | M | G | Вес, кг | Цена |
| 40835 | ЗВБ-0,2 | 0,2 | 30 | 30 | 50 | 365 | 335 | 60х80 | 6,0 | договорная |
| 40842 | ЗВБ-0,6 | 0,6 | 30 | 30 | 50 | 354 | 345 | 60х80 | 7,5 | договорная |