Файлы для скачивания:
Захват для плит перекрытия ЗПП
Цена:
Цена по запросу
Описание / Информация:
Захват плит перекрытия используется в строительстве для подъема и перемещения бетонных плит. Обязательным условием для применения данного захвата является наличие технологических отверстий диаметром более 55мм.
Характеристики:
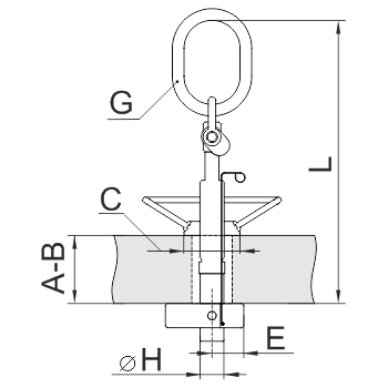
Грузоподъемное устройство имеет конструкцию коромыслового типа. Строповка плиты осуществляется путем поворота несущего элемента (коромысла) вокруг вертикальной оси и последующей фиксацией резьбовым упором.
Конструкция захвата позволяет надежно зафиксировать бетонные плиты толщиной от 100 до 150 мм. В работе используется на стропе типа 4СК, для крепления плиты более чем за 4 точки рекомендуется использование строп с уравнительными блоками. Захват плит перекрытия ЗПП поможет вам быстро провести строповку плит большинства типоразмеров. Грузоподъемность одного захвата составляет 2,5т.
Уточнить техническую информацию
По вопросам наличия, технических характеристик и стоимости обращайтесь:
Подробная таблица:
| Код товара | Обозначение | Г/п, т | A | B | C | H | L | G | Вес, кг | Цена |
| 41556 | ЗПП-2,5-100-150 | 2,5 | 100 | 150 | 120 | 55 | 605 | 120х180 | 12,3 | договорная |