Захват для подъема сендвич-панелей ЗСТу

Цена: Цена по запросу

Описание / Информация:

Захват предназначен для подъема и перемещения сэндвич-панелей и аналогичных грузов при строительстве быстровозводимых зданий и сооружений. Конструкционные особенности сендвич-панелей, а именно отсутствие технологических отверстий, петель, проушин, ограничивают использование широкого круга грузозахватных механизмов и приспособлений.

Характеристики:

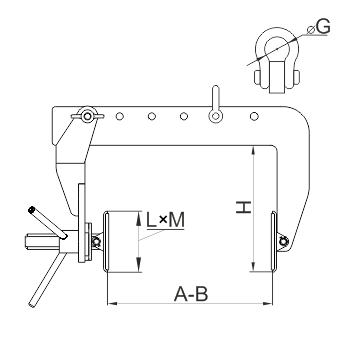
Конструкция захвата для панелей основана на схеме работы струбцины, что позволяет регулировать усилие сжатия, также предусмотрены накладки из резины, предохраняющие поверхность груза от повреждений. Переставная прижимная лапка позволяет регулировать зев захвата, это дает возможность работать с грузами толщиной от 50 до 250мм (практически весь размерный ряд сэндвич-панелей). Захват позволяет перемещать и устанавливать панель максимально близко к несущей конструкции.

Исполнение ЗСТу отличается болтовым соединением прижимной лапки к тела захвата. Для увеличения зева захвата потребуется раскрутить болт, поэтому захват рекомендуется использовать при продолжительных работах с грузами одного типоразмера.

Уточнить техническую информацию

По вопросам наличия, технических характеристик и стоимости обращайтесь:

Подробная таблица:

Код товара Обозначение Г/п, т A, мм B, мм H, мм L, мм M, мм G, мм Масса, кг Цена
40090 ЗСТу-0,25-50-250 0,25 50 250 198 90 140 26,2 4,76 договорная
60247 ЗСТу-0,5-30-280 0,5 30 280 195 95 140 33 10,0 договорная

Похожие товары из данной категории