Монтажная струбцина МС
Цена:
Цена по запросу
Описание / Информация:
Струбцины являются универсальным инструментом для стягивания и кантования изделий при проведении монтажных работ, также может применяться как грузоподъемное приспособление.
Характеристики:
Винтовая передача позволяет создавать значительное усилие сжатия, необходимое для монтажа, кантования, правки изделий. Следует учитывать, что в случае подъема изделий в вертикальном положении грузоподъемность струбцины необходимо уменьшать в 5 раз. Возможна дополнительная комплектация скобой (оговаривается при заказе).
Уточнить техническую информацию
По вопросам наличия, технических характеристик и стоимости обращайтесь:
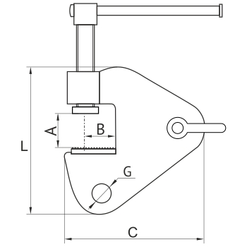
Подробная таблица:
| Код товара | Обозначение | Г/п, т | A | B | C | L | G | Вес, кг | Цена |
| 41331 | МС-1,0 | 1,0 | 55 | 63 | 210 | 230 | 20 | 5,8 | договорная |
| 41338 | МС-2,0 | 2,0 | 55 | 63 | 210 | 230 | 20 | 6,0 | договорная |
| 41342 | МС-3,0 | 3,0 | 52 | 72 | 280 | 270 | 40 | 13,0 | договорная |
| 41345 | МС-5,0 | 5,0 | 52 | 72 | 280 | 270 | 40 | 16,0 | договорная |
| 41350 | МС-7,5 | 7,5 | 80 | 65 | 307 | 320 | 50 | 24,5 | договорная |