Захват для подъема стопки листов PDK
Цена:
Цена по запросу
Описание / Информация:
Захват листового проката типа PDK используется для подъема и перемещения стопки листов, сложенных друг на друга.
Характеристики:
Захват представляет собой конструкцию с рабочим элементом эксцентрикового типа. Рабочий элемент (прижимная лапа) создает значительную контактную нагрузку, что гарантирует надежную фиксацию груза. Зев захвата позволяет работать со стопкой листов толщиной до 240мм.
Используется в паре, номинальная грузоподъемность двух захватов достигает до 8т. При использовании нескольких захватов рекомендуем использовать траверсу.
Уточнить техническую информацию
По вопросам наличия, технических характеристик и стоимости обращайтесь:
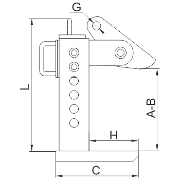
Подробная таблица:
| Код товара | Обозначение | Г/п, т | A | B | C | H | L | G | Вес, кг | Цена |
| 43194 | PDK3 | 3,0 | - | 180 | 210 | 110 | 380 | 26 | 19,0 | договорная |
| 56143 | PDK4,5 | 4,5 | - | 230 | 240 | 160 | 450 | 30 | 25,0 | договорная |
| 43196 | PDK8 | 8,0 | 40 | 240 | 300 | 180 | 520 | 40 | 51,0 | договорная |