Захват для подъема барабанов с цепным стропом ЗБц
Цена:
Цена по запросу
Описание / Информация:
Захваты предназначены для подъема и перемещения кабельных барабанов и аналогичных грузов имеющих сквозные отверстия в вертикальном положении.
Характеристики:
Захват представляет собой приспособление коромыслового типа, основным несущим элементом является коромысло, подвешенное на стропе (канатном, цепном) или металлической тяге. Может использоваться с широким кругом грузов, имеющих сквозные отверстия, под которыми можно разместить поворотный несущий элемент.
Уточнить техническую информацию
По вопросам наличия, технических характеристик и стоимости обращайтесь:
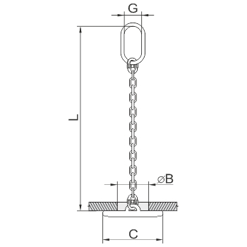
Подробная таблица:
| Код товара | Обозначение | Г/п, т | B | C | L | G | Вес, кг | Цена |
| 40513 | ЗБц-1,6т(L=0,8м) | 1,6 | 110 | 210 | 800 | 80х140 | 2,977 | договорная |
| 40518 | ЗБц-3,15т(L=0,9м) | 3,15 | 120 | 260 | 900 | 120х180 | 7,039 | договорная |
| 40524 | ЗБц-5,0т(L=1,0м) | 5,0 | 160 | 350 | 1020 | 120х180 | 14,267 | договорная |
| 40527 | ЗБц-7,8т(L=1,1м) | 7,8 | 210 | 500 | 1100 | 100х180 | 22,977 | договорная |
| 40535 | ЗБц-11,0т(L=1,2м) | 11,0 | 250 | 500 | 1200 | 210х300 | 42,605 | договорная |