Захват для подъема листа ЗВЛо

Цена: Цена по запросу

Описание / Информация:

Захват ЗВЛо применяется для подъема и перемещения листового проката и аналогичных грузов в вертикальном положении. Захват имеет механизм предварительного поджатия эксцентрика для облегчения строповки. От модели ЗВЛ отличается упрощенной конструкцией подвесного звена без шарниров.

Характеристики:

Основным рабочим элементом захвата является эксцентриковый кулачок, с помощью которого и осуществляется зажим груза. Фиксация груза происходит за счет силы трения, возникающей между рабочими органами захвата и поверхностью груза при его подъеме. Когда груз поднимается, сила зажима увеличивается за счет собственного веса груза.

Конструкция захвата включает механизм предварительного натяжения кулачка, он служит для предотвращения соскальзывания захвата при строповке груза. После поворота рычага, механизм обуспечивает постоянное приложение усилия на эксцентрик, достаточное для безопасной установки. Захват фиксируется, как в закрытом, так и в открытом положении.

На опорной площадке и кулачке имеются зубья, которые повышают надежность зацепления груза, а так как контактная нагрузка очень велика, то работать данными захватами рекомендуется с грузами облдающими достаточно жесткой поверхностью, в частности это листовой прокат металла.

Гарантийный срок: 6 месяцев со дня ввода в эксплуатацию при односменной работе.

Твердость поднимаемого листа должна быть не более 345 НВ (36 HRC).

Уточнить техническую информацию

По вопросам наличия, технических характеристик и стоимости обращайтесь:

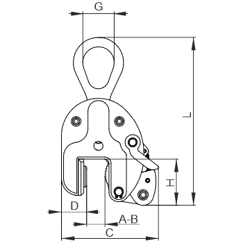
Подробная таблица:

Код товара Обозначение Г/п, т B, мм C, мм D, мм H, мм L, мм G, мм Масса, кг Цена
100541 ЗВЛо-1,0 1,0 25 135 36 66 330 45 3,0 договорная
100542 ЗВЛо-3,0 3,0 35 193 55 92 385 60 8,0 договорная
100543 ЗВЛо-5,0 5,0 50 266 95 129 593 80 21,0 договорная

Похожие товары из данной категории