Захват для подъема листа ЗГЛнж

Цена: Цена по запросу

Описание / Информация:

Захваты ЗГЛнж применяются в различных участках производства для перемещения листового материала в горизонтально положении. Подходит для подъема таких материалов, как нержавеющая сталь, алюминий, натуральный камень, композит, окрашенные материалы, дерево, пластик и т. д.

Захват отличается плоской опорной площадкой и малой высотой данной площадки, что облегчает монтаж захватов на листы сложенные стопкой.

Характеристики:

Захват относится к эксцентриковому типу. Эксцентриковый язычок при повороте создает значительную контактную нагрузку, для защиты поднимаемого груза от повреждений на контактных плоскостях имеются полиуретановые накладки.

В сравнении с моделью ЗГЛ, данные захваты имеют дополнительное усиление в местах соединения корпуса и опорной площадки, поэтому вес изделий при равной грузоподъемности существенно отличается.

Захват работает в паре, но для надежной фиксации груза рекомендуется использовать не менее четырех захватов ЗГЛнж с подвесом на траверсе.

Гарантийный срок: 6 месяцев со дня ввода в эксплуатацию при односменной работе.

Уточнить техническую информацию

По вопросам наличия, технических характеристик и стоимости обращайтесь:

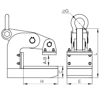
Подробная таблица:

Код товара Обозначение Г/п, т B, мм C, мм E, мм H, мм L, мм G, мм Масса, кг Цена
102279 ЗГЛнж-0,5-0-25 0,5 25 30 65 95 137 21 4,0 договорная
102280 ЗГЛнж-1,0-0-45 1,0 45 35 90 150 186 32 10,0 договорная
102281 ЗГЛнж-1,5-0-45 1,5 45 40 90 150 192 41 13,0 договорная
102282 ЗГЛнж-2,0-0-50 2,0 50 50 110 165 214 41 20,0 договорная
102283 ЗГЛнж-3,0-0-50 3,0 50 50 130 165 248 50 27,0 договорная

Похожие товары из данной категории